t has been recognized that the old idea was that quality is a company and institutionally responsibility is radically changed, The new truth is that quality is a very personal obligation and very personal responsibility. ( Roberts & Sergeskeeter, 1999) ,So all the companies now a day believe that personal quality is the first step to move to the levels of total quality management and the level of quality that is absolutely essential.
With respect to quality, there are usually a small number of strategies, say three to five. (Gryna, 2001) Organizations, regardless of whether they are private, Author : Administration and MIS Section, Al-Balqa' Applied University. E-mail : [email protected] public or not-for-profit, face a continuous barrage of requests to improve quality. Every quality management initiative can, and must be tied to key business process performance indicators in order to have any real impact on productivity and the bottom-line. However, strategic plans are rarely translated into the quality strategies needed to ensure overall performance improvement gains. Strategic Quality Planning Process will move your organization and/or a department's quality management team beyond the notion of quick fixes and into the realm of solutions. It leads to the development of Quality Management Strategies. (Business Improvement Architect (bia), 2012) hence, these argue poses organization to have a clear vision, understanding, and development of strategic quality management ( SQM ). In quality literature, SQM refers to an important part of the syllabi of a lot of business and financial management studies schools all across the world. It is also a very important part of the operations of a business entity as it focuses on finding out the weaknesses and turning them into strength. (finance.mapsofworld.com, 2012) (oxbridgewriters.com, 2012) This paper develops a research framework that relates personal quality performance and strategic quality management (SQM). Four important criteria of personal quality performance are considered: positive personal characteristics, human relationships, effective communication and exceeding work performance.
At the same time, we consider the impact of sector as a control variable, because of the important of these variable as determinant of many aspects in organization.
This paper was operationalised among some Jordanian hospitals and organized as follows: first, the constructs in the model are introduced building on the relevant literature review to identify several important aspects of personal quality, personal quality performance, and strategic quality management. Second, hypotheses linkage these criteria of personal quality performance, strategic quality management and sector are presented and discussed. Next, sample is described and measurement issues are addressed. Cronbach'S alpha was used to evaluate the internal consistency of items. Then, regression analysis are used for hypotheses testing, and subgroup analysis is taken I to examine the moderating effect of the sector. Finally, the results of the study and their potential implications are explored.
Theoretical Background a) Personal Quality Quality begins with the individual, The main element of quality is the people who make products and create services eventually not technology and tools; those people who are responsible to run and make systems work efficiently. So, quality reflects the significance of people. Therefore, people must be promoted internally to perform their job with quality. (Kahwaji, 2010)Personal qualities are personal characteristics of an individual. They are what make up one's personality. They help a person get along in a new situation. Personal quality propels a chain reaction of quality improvements within an organization. Higher personal quality leads to improved work performance, good interpersonal relationships and better job satisfaction. It also helps to create a positive first impression. (Taiko, 2009) (Sambasivan, Etal, 2009) (Malhi, 2009) said Personal Quality is the degree to which an individual expresses positive personal attributes, practices good human relations and exhibits superior work performance and it is the bedrock of organizational quality. Quality people do quality work. So, personality quality, by definition, cover all aspects of living experienced by individuals. it encompasses functional status, access to resources & opportunities. It cover both the material satisfaction of vital needs as well as aspects of life such as family, work, social life, personal development, self realization and a balanced eco-system.
A focus on personal quality must be emphasized within a company before the beginning of any quality initiative in the workplace. The theory is that focus must begin with the people; otherwise, it is unlikely successful results with any long lasting effect will be achieved. In addition, resources and recommendations for effective recruitment of top candidates, as well as employee development are also provided. (Martin, 2008) (Jambekar .1995) showed that Personal quality improvement offer a risk and embarrassment-free experiential framework for individuals to learn not only the basics of quality management but also system thinking.
(Jambekar. 2005) argued that the concept of personal quality may be viewed as personal empowerment. by doing improvement in some aspects of personal quality, and then by making a connection to a larger organization by reflecting upon one's experience we can gain best understanding of the concepts of organizational quality. finding when they argued that personal quality doesn't have a direct affects on organization performance, personal quality primarily work through competencies , motivations levels ,and strategies of organizations.
Hensel et al (2010) found a relation between personal quality and strategic human resources development. this fact is supported by the increasing tendency for SHRD professionals to focus on personal quality (Blanchard &Thacker 2007) ,which supported by studies showing a relation between personal quality and several aspects of organization effectiveness (Barrick, et al, 200, Arthur et al 2003).
(Alyahyawi, 2011) recognized criteria of personal quality performance for departmental heads: positive personal characteristics, human relationships, effective communication and exceeding work performance, and he argued that criteria of selection and assignment of departmental heads should be revised so as to include personal quality fields. Tables (1) illustrate main proposed criteria of personal quality. (Baum, at al, 2001) Personal quality play a key role in organization, as we said before it is the first and major step in achieves total quality management. The importance of Personal Quality stems from 1) Quality is an attitude of mind, 2) People are the ultimate creators of quality products and services Personal 3) quality is the bedrock of organizational quality 4) Increases organizational and personal productivity 5) Enhances quality of personal life. (Malhi, 2009) Because quality is an attitude of mind (which reflect the importance of personal quality), and organization performance is greatly depending on personal quality of it is member (Malhi, 2009), organization must work hard to enhance personal quality. to do so organizations should adapt specific strategy for enhancing personal quality which explain in details how to enhance personal quality to attain peak performance at work place as illustrated at figure (1). SQM moved to anew period by the waves of quality, when the quality became the driving force to survivability and competitiveness, SQM is seen as the key to being competitive. (Leonard and Mcadam, 2002) within The new competitive approach of SQM, all definitions and arguments emphasized the importance of linking total quality management and strategic quality management with corporate strategy and strategic planning. (calingo, 1996) said that" SQM is attained when strategic planning and quality planning have merged into one seamless process, owing to a free flow of information between strategic planners and quality planners. (Srinidnin 1998) argue that, SQM is the integration of the principles of quality management into all the steps of strategic planning. this mean that quality concepts are integrated into the vision and goals of the firm, in the formulation of the policies, and action required for change management and in the deployment of the strategy (Pheng & hong 2005) support Srinidni argument when they stated that "SQM as its name suggests, it merges corporate strategy with total quality management where incremental quality plans are replace by bold initiatives such as cycle -time reduction and business process re-engineering".
Year (Aravindan 1996) viewed SQM as a process by which quality management activities focus towards the long range direction and progress of quality enhancement strategies by insuring the careful formulation through vital quality strategies, and continuous evaluating through quality improvement and control.
To attain the success of SQM implementation, the aspects of TQM must be considered as the extensive criteria of SQM, and the key elements in SQM implementation .these elements were listed by. ( ) also found that Perceptions of SQM Implementation was effected by" process improvement" and "assessment of competitiveness" and some other management principles, which have the highest impact on determining the SQM implementation perceptions.
The importance of SQM can be found in the total quality management literature, it has been considered as an extension of total quality management (TQM) (madu and kuei, 1993). there are appositive associations among SQM and customer satisfaction and environmental needs (madu and kuei, 1993), in SQM, quality was defined as being driven by customer and environmental needs and looks to identify critical factors that will determine the survivability and competitiveness of a firm in the near future. Because SQM is a pattern of goals, policies, plans, and human organization is not something to be taken lightly,. And it is likely to be in place over a long period of time SQM affects the organization in many different ways. The culture that guides members of the organization and other stakeholders, the position that it will occupy in an industry and market segments, and determining particular objectives and allocating resources to achieve them all follow from the decision processes determined by strategy.
The essential idea behind SQM is that the product is customer value rather than a physical product or service. This fact cannot be achieved unless an organization creates a culture of quality and no strategy and plan can be worthwhile unless it is carefully implemented. (Blog at WordPress.com (TQM), 2008)
The primary objectives of SQM may be spelt out as below:
Administering a proper analysis of the business strategy. This takes into account the comprehension of the prominent parts of a proper mission statement of a business enterprise.
Incorporation of strategic analysis in the Business Excellence Model. This needs to be done to find out the comparatively weaker areas in a business and to better them.
Employing the means of quality management. As part of this comes the comprehension and consequent application of the basic principles of total quality management.
This process is followed by acquiring knowledge about the Business Excellence Model and then using it for the purposes of locating the particular areas in business that need to be improved.
(finance.mapsofworld.com, 2012) (oxbridgewriters.com, 2012)
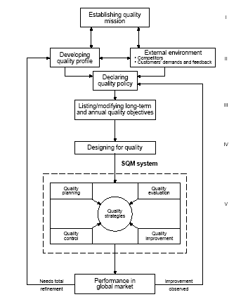
The competitive approach of SQM implies that, SQM is a continuous process of assess internal and external change with respect to quality. Although many processes and subprocessess are involved in strategic quality management, the process of strategic quality management must begins with defining and identifying what we mean by quality and what quality mean to the organization. strategic quality management consist of Review your organization's and/or department's strategic plan or imperatives, Identify what quality initiatives or strategies have been used in the past, Understand the voice of customer, Engage employees and gain their feedback to ensure their continued commitment to quality, Create the quality vision, Develop a statement of quality and standards, Identify the quality strategies, and finally Develop the strategic implementation plan. (Business Improvement Architect (bia), 2012). The process of SQM consists five phases illustrated in figure (2). (Aravindan 1996) iii.
This study has two specific research hypothesis. the first hypothese has four specific sub hypothesis, in other words it try to examine the relationship between four independent variables and one dependent variables .those four independent variables consist personal quality performance that effect strategic quality management the second hypothesis try to examine the moderating role of sector on the effects of personal quality performance criteria on strategic quality management. The research objectives can be but into the following hypothesis : The Study took place among Hospitals in Amman city Jordan the study targeted the most important hospitals of private and public sector which operate in the city and 6 of them agreed to cooperate all employee within respective departments and sections were randomly chosen .so the researcher administers 287 questionnaires to employee of the 6 hospitals and gathered 227 questionnaires, yielding response rate of % 79.1 percent. All data collection procedures were designed to ensure the anonymity of participation.
The present study used an instrument developed by Alyahawi (2011) in particular, (54) items, consisting of 4 distinct criteria (positive personal characteristics, human relationship, effective commu nications, exceeding work performance). the scale adopted was a5-point likert scale ranging from 1 (strongly disagree) to 5 (strongly agree).
The instrument to measure strategic quality management was adopted from the work of few researches such as (temur et al, 2009) ( (Pheng &hong 2005)) all ( 40 ) items were measured using 5-point likert scale.
hospitals have more attention on personal quality characteristics more than public sector in this way .the private hospitals would have an effective quality management than public sector .the final issue addressed by this research is whether "sector" moderates The association of personal quality performance with strategic quality management .the different influences of personal quality performance vs. sector on strategic quality management make predictions of moderation especially difficult .the literature offers little guidance on this topic .thus, the moderating effect of sector is approached as exploratory issue. As a measurement of sector the sample were asked to determine whether their hospitals was public (1) or private one (2).
Reliability is the extent to which a measures is free from variable errors. for the purpose of this study ,the internal consistency method assesses the cronpach alpha statistics, which indicates strong reliability if the alpha co-efficient exceeds 0.7 and moderate reliability if the alpha co-efficient exceeds 0.6 table (2) shows that both scales and all of variable exceeded 0.7 and score strong internal consistency . (3) shows the descriptive statistics and correlations for all personal quality performance criteria and strategic quality management. all criteria of personal quality performance correlate positive with strategic quality management .the highest correlations factor appear between positive personal characteristics and S.Q.M. (R=0.57, p 0.01) whereas the lowest one between effective communication and S.Q.M (r=0.4, p 0.05). iv.
The hypotheses were tested using multiple regressions. The regression result of testing for the affects of personal quality performance on strategic quality management are in Table (4) .The result show that all the four purposed personal quality performance criteria have positive influences on strategic quality management, and those four hypotheses were fully supported. The effects of independent variables on strategic quality management separate for private and public sector were displayed in table (5) the beta column contain the standardization B estimates for these effects. B values can be compared using T value.
The T-value column shows a different result. looking down this column it is seen that four tests are significant the effect positive personal characteristics on strategic quality management, when the hospitals are private (B=0.553, p 0.001) is different from that when hospitals are public (B=223, p 0.001) the effect Human relationships on strategic quality management when hospitals are private (B=2310, p 0.001) is different from that hospitals are public (B=one, p 0.1) the effect of Exceeding work performance on strategic quality management when the hospitals are private (B=0.39, p 0.001)is different from that when hospitals are public (B=0.219, p 0.01), the effect of effective communication on strategic quality management when hospitals are public (B=0.448, p 0.001) is different from that when hospitals are private (B=0.2080 P 0.01).
Based on the previous analysis we conclude that positive personal characteristics, Human relationships, Exceeding work performance contribute in strategic quality management for private but not public hospitals and effective communication contribute in strategic quality management for public but not private hospitals. the over all conclusion drawn from these result is that sector (type of hospitals) as a moderate variable do not moderate the effect of personal quality performance on strategic quality management.
V.
The goal of paper were divided into two sub goals, the first one is to discuss and empirically tested the nature of the relationship among the criteria of personal quality performance and strategic quality management in the hospital sector both private and public.
All hypotheses are supported which indicates significant affect of the criteria of personal quality performance (positive personal characteristics, Human relationships, Effective communication, Exceeding work performance) on strategic quality management this support the argue that the personal quality has a vital role in strategic quality management. the results imply that there are several criteria of personal quality performance enhance the management of strategic quality within the hospitals. Sense the top management of these hospitals should consider the important role of personal quality criteria when they seek to achieve a good strategic quality management.
The second sub goal of the paper was to exam the role of hospitals sector as a moderating effect on the relationship among personal quality performance dimension and strategic quality management. a sector analysis was used to examine the moderating effects of hospitals sector. in four instances were moderation significant (positive personal characteristics on strategic quality management, Human relationships on strategic quality management, Exceeding work performance on strategic quality management, effective communication on strategic quality management).
The results show that the sector should not be concerned from the top management of the researched hospitals when they planning for the personal quality performance to conform with strategic quality management VI.
The study took place in one city only, increasing the sample both in terms of the number of cites and respondents could provide more generalization in finding .in addition the study took place in hospitals and in order to permit generalization to other industries future research could make larger -scale investigation in all industries. Finally future research could examine the moderating effects of another moderate factor like size, industry, even more the financial position of the firms. 1. Hisham. Alidrisi and Sherif Mohamed, (2012), "Resources Allocation for Strategic Quality Management : A goal Programming Approach".



| ? | Having high self-esteem. | |
| ? | Having the ability to handle responsibility | |
| ? | Adopting system procedures | |
| ? | Having self discipline | |
| ? | Hard working | |
| ? | Practical implementation | |
| ? | Maintaining a high level of sincerity and | |
| honesty | ||
| Positive Personal Attributes | ? | Accepting constructive criticism |
| ? | Having flexibility and the ability to adapt to | |
| changes | ||
| ? | Applying time management | |
| ? | Having good communication skills | |
| ? | Having elegance and good appearance | |
| ? | Having fitness and good health | |
| ? | Living a balanced life | |
| ? | Having self improvement | |
| ? | To treat all people with respect | |
| ? | To be optimistic | |
| ? | To show care for others | |
| ? | To maintain good relations | |
| ? | To have good listening skill | |
| ? | To draw people attention to their faults | |
| politely. | ||
| ? | To give an honest and a specific | |
| evaluation. | ||
| ? | To praise when needed | |
| Good Human Relations | ? | To control your emotions |
| ? | To admit your faults | |
| ? | To keep secrets | |
| ? | To have empathy to see the others point of | |
| view | ||
| ? | To respect commitments and promises | |
| ? | To help others in their development | |
| ? | To keep smiling | |
| ? | To avoid controversy and irony | |
| ? | To achieve error-free work | |
| ? | To have full knowledge of the job | |
| ? | To predict problems and prevent them | |
| ? | To be initiative to improve work | |
| Superior / Outstanding Work Performance | ? | To do tasks by priority |
| ? | To take quick and accurate decisions | |
| based on full awareness of facts | ||
| ? | To have team working skills | |
| ? | To have creativity and innovation | |
| (Kahwaji, 2009) (Malhi, 2009) |
| Scale | Cronbach |
| Positive personal characteristic | 0.8524 |
| Human relationships | 0.9273 |
| Effective communication | 0.8853 |
| Exceeding work performance | 0.9345 |
| Personal quality performance | 0.9131 |
| Strategic quality management | 0.9572 |
| quality management | |||||||
| Mean | S.D | 1 | 2 | 3 | 4 | ||
| positive personal characteristics | 3.87 | 0.65 | |||||
| Human relationships | 4.01 | 0.52 | 0.45** | ||||
| Effective communication | 3076 | 0.753 | 0.28* | 0.38** | |||
| Exceeding performance | work | 3.95 | 0.62 | 0.57** | 0,25* | 0.41** | |
| Strategic management quality | 4.33 | 0.63 | 0,57** | 0,49** | 0.42** | 0.52** | |
| Table | |||||||
| Dependent variables (strategic quality management) |
| SECTOR | Independent variables | Beta | T -value | SIG | ² R | Model -F |
| -positive personal characteristics | 0.223 | 2.625 | 0.017 | |||
| -human relationships | 0.042 | 0.435 | 0.621 | |||
| PUBLIC | -effective communications | 0.448 | 4.482 | 0.000 | 0.714 | 19.022 |
| SECTOR | ||||||
| -exceeding work performance | 0.219 | 1.521 | 0.111 | |||
| -positive personal characteristics | 0.553 | 5.345 | 0.000 | |||
| -human relationships | 0.431 | 3.991 | 0.000 | |||
| PRIVATE | -effective communications | 0.208 | 1.826 | 0.061 | 0.704 | 24.413 |
| SECTOR | ||||||
| -exceeding work performance | 0.291 | 3.745 | 0.001 |
Viewing Personal Quality Management through A systems thinking Lens. Total Quality Management 2005. 16 (7) p. .
Strategic Quality Mana gement. International Journal of Quality Science 1998. 3 (1) p. .
Business Improvement Architect (bia), (2012) 30. Blog at WordPress.com (TQM), 2008.
Hoshin Kanari : A technique for Strategic Quality Management. Quality Assurance 200. 8 p. .
Introducing Strategic Quality Management. Long Range planning 1993. 26 (6) p. .
Adoption of Strategic Total Quality Management Philosophies : Multi-Criterial Decision Analysis Model. International Journal of Quality and Reliability Management 1996. 13 (3) p. .
Personality and Performance at the Beginning of the New Millennium: What Do We Know and where do we go net?. Personality and performance 2001. 9 (1/2) p. .
A focused System Model for Strategic Quality Management. International Journal of Quality & Reliability Management 1996. 13 p. .
360 Degree Feedback How Many Raters are Needed for Reliable Ratings on the Capacity to Develop Competences with Personal Qualities as Developmental Goals. the International Journal of Human Resources Management 2010. 21 (15) p. .
The Evolution of Strategic Quality Management. International Journal of Quality and Reliability Management 1996. 13 (9) p. .
A Multidimensional Model of Venture Growth. Academy of Management Journal 2001. 44 (2) p. .
Enhancing Personal Quality : Empowering Yourself to Attain Peak Performance at Work. TQM Consultants Sdn.Bhd. Malysia 2010.
Strategic Quality Management for the Construction Industry. the TQM Magazine 2005. 17 (1) p. .
Effectiveness of Training in Organizations: Ameta-Analysis of Design and Evaluation Features. Journal of Applied Psychology 2003. 88 (2) p. .